电池知识
锂离子、磷酸铁锂、锰酸锂、新能源
电池知识
锂离子、磷酸铁锂、锰酸锂、新能源
摘要 采用尖晶石锰酸锂和以锰为主的多元金属氧化物正极材料分别研制了 Mn 系正极高功率和高容量动力锂离子二次电池,研究并比较了 Mn 系动力电池与海内外几家公司制造的 LiFePO4 动力电池的电化学性能。结果表明 Mn 系高容量和高功率动力电池不仅具有高能量密度、优越的高低温与倍率充放电特性、热稳定性良好,同时电池的 SOC-OCV 线性关系还有利于管理系统的控制,因此该类动力电池会成为今后动力电池的一个重要发展方向。关键词 动力电池; 多元金属氧化物; 尖晶石锰酸锂; 磷酸亚铁锂
Studies on Power Li-Ion Secondary Battery System for EV and HEV
AN Fuqiang1 ,Qilu1 ,2 ,WANG Jian1 ,ZHANG Ding2 ,CHEN Hui1 ,MAO Yongzhi1 ,LIU Zhengyao1
1. CITIC Guoan MGL New Energy Technology Co. ,Ltd,Beijing 102200; 2. New Energy Materials and Technology Laboratory,Peking University,Beijing 100871; Corresponding author,E-mail: qilu@ pku. edu. cn
Abstract Electrochemical performances of Mn-series power batteries produced by MGL were studied,and compared with LiFePO4 power batteries of other companies. The results indicate that the high capacity and high power batteries with spinel LiMn2 O4 and multi metal oxides as cathode materials not only have high voltage,high energy density,good high and low temperature properties,excellent rate of charge and discharge,stable thermal performance,but also show the linear of state of charge-open-circuit voltage ( SOC-OCV ) relationship, and then the battery manage system ( BMS ) can be easily controlled. Therefore,Mn-series power batteries will be the important direction for future power batteries.
Key words power battery; multi metal oxides; spinel LiMn2 O4 ; LiFeO4
目前应用于电动车上的动力二次电池主要有铅酸和镍氢电池等。2009 年国家工业和信息化部颁布的《新能源汽车生产企业及产品准入管理规则》 ( 简称《准入规则》) 中,也将铅酸电池的混合动力车、纯电动车、镍氢电池的混合动力乘用车列为成熟期产品[1 ]。但是,长期以来由于铅酸和镍氢电池的能量密度和功率密度低、循环寿命差、低温性能差以及污染环境严重等问题而无法使用到道路电动汽车上。图 1 给出几种动力电池在能量密度、功率密度上的比较,从图 1 可以清楚地看出,锂离子动力电池无论是在能量密度还是在功率密度方面都远优于铅酸电池和镍氢电池。
20 世纪 90 年代初锂离子二次电池问世以来, 经过将近 20 年的发展,虽然锂离子二次电池的应用范围目前还主要集中在携带电话、笔记本电脑、摄像 机以及其他携带型电子产品中,但是由于小型锂离 子二次电池制造技术的成熟,随着生产量连年大幅 度增加,电池的价格持续迅速地下降。此外,随着技 术不断进步,人们意识到只要把握好今后的电池回 收,锂离子二次电池中的化学物质对环境和人类的 影响应该是非常有限的。
由于上述原因,最近 10 年,人们一直在努力开发用于电动汽车的动力型锂离子二次电池,并计划将其在纯电动车( electric vehicle,EV) 、混合动力车
HP: high power; HE: high energy
图 1 电动车用动力电池的性能比较
Fig. 1 Performance comparison of different power battery for EV and HEV
( hybrid electric vehicle,HEV) 上进行规模化的试用和推广。2008 年北京奥运会期间,北京大学和中信国安盟固利公司为北京奥运会数十辆电动公交车研制了近百套锰酸锂正极动力电池,实现了国内外锂离子动力电池的首次大规模成功应用[2 -3 ]。
然而,无论是纯电动还是混合动力的电动汽车, 尽管在北京载人的电动公交车运行已经实施 3 年了,但是电动汽车产业化的进程在很大程度上还是受到了电池性能问题的制约,因为车载储能的锂离子二次可充电电池必须更小、更轻、更便宜、更安全。
因此,为了更好地了解电动车用动力锂离子电池的性能及其对今后电动汽车性能的影响,本文通过对所研制的高功率电池性能的深入解析,对目前研究比较广泛的几种锂离子二次电池做一些相关的研究和比较,并讨论动力锂电池在今后发展中将要遇到的一些问题。
1 电池的制作和性能比较
根据锂离子动力电池用正极材料的不同,锂离子动力电池包括多元金属氧化物正极材料、尖晶石锰酸锂正极材料、磷酸亚铁锂正极材料等类型。目前多元金属氧化物型动力电池在功率性能上表现出显著优势,已经应用于混合动力车和电动叉车;锰酸锂型动力电池经过 2008 年北京奥运会大规模的成功应用,已经更大规模地用于 2010 年上海世博会电动公交车;磷酸亚铁锂型动力电池近两年也备受关注,并开始了小批量的应用。下面通过实验数据、道路工况测试数据等对锰基多元金属氧化物型、尖晶
石锰酸锂型、磷酸亚铁锂型动力电池的性能进行相关的分析。
1. 1 功率型动力锂离子电池
由于用途不同,混合动力车对电池有着不同的要求。国家“863 计划”对混合动力汽车提出了十分具体的性能要求,尤其是要求功率型动力电池的功率密度≥1800 W / kg。为满足这些要求,我们研究开发了电化学性能优异的 8 Ah 锰基多元金属氧化物( LiNix Coy Mnz O2 ,其 中 x ≤ 0. 033 ,y ≤ 0. 33 ,z ≥
0. 33 ) 型高功率电池。
1. 1. 1 电池的制作
以 文 献 [4 ]中 的方法得到的生 成 物 质Li( Cox Niy Mn1 - x - y ) O2 为正极,石墨为负极,将正负极片用 PP / PE / PP 隔膜隔开,制作成混合动力车用8 Ah高功率锂离子电池,电解质溶液采用1 mol / L LiPF6 / EC + DMC + EMC ( 质量比为1 ∶ 1 ∶ 1 ) ,电解液中添加了阻燃添加剂,并采用独特结构设计的铝塑膜作为电池的外包装材料。
1. 1. 2 电池的研究与比较
在对该 8 Ah 电池进行仔细研究的基础上,我们对近似容量的磷酸亚铁锂高功率电池做了对比分析。对比用的 10 Ah 磷酸亚铁锂电池是海外某公司的产品。
1) ) 能量密度对比分析。
图 2 是我们研制的 8 Ah 高功率电池和10 Ah磷酸亚铁锂高功率电池的充放电曲线。为了方便讨论,我们研制的 8 Ah 电池以下统称盟固利( 英文简称 MGL)8 Ah电池。通过测试在放电过程中所放出的能量,可以分别计算出盟固利 8 Ah 电池的质量能量密度为100 Wh / kg,体 积能量密度为150 Wh / L; LiFePO4 电池的质量能量密度为83. 66 Wh / kg,体积能量密度为143. 53 Wh / L。如图 2 所示,与盟固利 8 Ah 电池相比较,LiFePO4 材料单体电池的放电平均电压约低 0. 4 V 左右。此外,与盟固利 8 Ah 电池相比较,LiFePO4 电池能量密度也偏低,重量能量密度约低 15 % 左右,体积能量密度约低 50 % 左右。
2) ) 倍率性能对比分析。
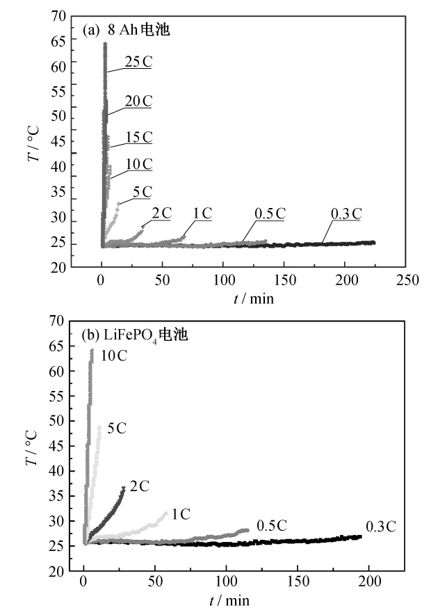
盟固利 8 Ah 电池和 LiFePO4 电池的倍率放电曲线、温度变化如图 3 ~ 5 所示。
作为功率型二次电池应用到混合动力车辆中时,既要考虑车辆在加速和爬坡时在短时间需要由电池系统提供瞬间大功率电力、还要考虑在急刹车时的大量刹车能的回收,因此要尽可能地用较小的
图 2 盟固利 8 Ah 电池、LiFePO4 电池的充放电曲线
Fig. 2 Charge-discharge curves for MGL 8 Ah battey and LiFePO4 battery

图 3 盟固利 8 Ah 电池、LiFePO4 电池的倍率放电曲线
Fig. 3 Ratio-discharge curves of MGL 8 Ah battery and LiFePO4 battery

图 4 盟固利 8 Ah 电池、LiFePO4 电池倍率放电的温升情况
Fig. 4 Temperature change for MGL 8 Ah battery and
LiFePO4 battery during ratio-discharge processes

图 5 8 Ah 电池与 LiFePO4 电池倍率放电过程中的容量与温度变化
Fig. 5 Capacity and temperature change during ratio-
discharge processes for 8 Ah and LiFePO4 battery
电池承受大倍率的充放电。图 3 表明,盟固利的 8 Ah 电池在 25 C 放电时与 LiFePO4 材料的电池 5 C时的放电能力相当; LiFePO4 电池在大于5 C 的放电时,电压迅速下降,至 10 C 时已经完全失去放电能
力。而盟固利 8 Ah 电池即使是在 20 C 的状态下依然可以正常工作,显示出良好的大倍率放电性能。文献[5 -6 ]曾经详细讨论过实验室制备的磷酸亚铁锂正极材料的电化学性能,但是该工作并没有能够给出电池在低温性能和温度变化等方面的数据。由于正极材料的性能并不等同于电池的性能,因此性能非常优越的高功率磷酸亚铁正极电池的出现估计还需要时间。
图 4 描述的是两种电池在大倍率放电时温度的变化情况。图 4 中的数据经变换处理后用图 5 来描述。由图 5 可以直观地看出,盟固利的 8 Ah 电池在不同倍率下的温度上升情况要远小于 LiFePO4 材料的电池。盟固利电池的这一特性是非常重要的,因为在大电流充放电时的温度升高与否,或升高多少是决定电池安全性能的一个重要指标。随着充放电电流的增加,电池温升的幅度越小,电池越安全。导致 LiFePO4 正极材料电池温度升高的原因可能是多种的,但是考虑到 LiFePO4 本身的导电率很差,这可能是导致电池内阻偏大的主要原因。由于在大倍率电流下进行放电时,由阻抗引起的热的产生和积累会不断升高电池温度,因此该类电池在使用过程中

图 6 盟固利 8 Ah 电池、LiFePO4 放电曲线图
电池的高低温
温度的变化是需要高度关注的。此外,由于高内阻
使得电池在放电过程中电压降过大,同样会无法满足大倍率的充放电。
3) ) 高低温性能对比分析。
盟固利的 8 Ah 高功率电池和 LiFePO4 电池的高低温放电曲线如图 6 所示。从测试结果可以得出,在 - 20 ℃ 时,盟固利 8 Ah 电池可以放出室温容量的 73. 5 % ,LiFePO4 电池放出 67. 43 % ; 在高温 55 ℃ ,盟 固 利 8 Ah 电 池 可 以 放 出 室 温 容 量 的
101. 6 % ,而 LiFePO4 电池则放出 101. 2 % 。由上述测试结果得知,在高温下两种电池的区别并不是很明显。在低温时,虽然 LiFePO4 电池仅比盟固利的 8 Ah高功率电池在容量方面降低了 6 % ,但是因为前者的电压已经低于 2. 9 V,作为单体电池时已经无法正常工作了。
4) ) HPPC 对比分析。
盟固利 8 Ah 电池和 LiFePO4 电池的 HPPC(hybrid pulse power characterization,混合脉冲功率特性) 测试结果如图 7 所示。
测试 结 果 显 示,在 50 % DOD ( depth of dis- charge) 下,盟固利的 8 Ah 高功率电池的脉冲放电功率为 2500 W / kg,脉 冲充电功率为 2700 W / kg;
Fig. 6 H-L temperature discharge curves for MGL 8 Ah
battery and LiFePO4 battery

图 7 盟固利 8 Ah 电池、LiFePO4 电池的 HPPC 图
Fig. 7 HPPC figures for GML 8 Ah battery and LiFePO4 battery
LiFePO4 电池的脉冲放电功率为1000 W / kg,混合脉冲充电功率仅为670 W / kg。由该测试结果可以明确地看到,在混合动力电动汽车上电池系统最频繁工作的电压区间,盟固利 8 Ah 高功率电池的功率密度要远远高于 LiFePO4 电池,完全可以满足电动汽车的要求。
5) ) SOC-OCV 和 SOC-R 对比分析。
盟固利 8 Ah 高 功 率 电 池 和 LiFePO4 电 池 的 SOC-OCV 和 SOC-R 测试结果如图 8 所示。其中, SOC ( state of charge ) 为电池荷电态,OCV ( open- circuit voltage ) 为电池开路电压,R ( resistance ) 为电阻。
从图 8 可以看出,LiFePO4 单体电池的直流内阻是盟固利 8 Ah 高功率电池的 2 倍以上。同时,由图 8 可知 LiFePO4 单体电池的 OCV 随 SOC 的升高变化平坦,而盟固利 8 Ah 高功率电池的 OCV 则随SOC 的升高呈现明显而且稳定的升高。这一信息对电池系统是至关重要的,因为 SOC 在 30 % ~ 70 % 时是高功率电池使用最为频繁的区间,由于磷酸铁锂
电池电压变化幅度很小,使得普通的 SOC 估算法对磷酸亚铁锂系统将失去作用,极其容易导致电池系统失控。
1. 2 能量型锂离子动力电池
在进行单体电池分析比较中采用的是 100 Ah 尖晶石型锰酸锂和50 Ah 磷酸亚铁锂能量型电池。100 Ah尖晶石型锰酸锂电池为盟固利自行设计制造[7 ],50 Ah 磷酸亚铁锂电池为国内某企业提供的产品。由于在测试方法上与功率型基本相似,因此 省略了曲线的显示,只列出了测试结果数据。
在进行整车性能测试分析时,本文选择国内某公司正在进行实况测试的磷酸亚铁锂电池的数据, 该单体电池的容量为 120 Ah。
1) ) 能量密度比较。
通过测试计算得出尖晶石 LiMn2 O4 动力锂离子电池的质量能量密度为120 Wh / kg,体积能量密度为 220 Wh / L;LiFePO4 能量型动力锂离子电池的质量能 量 密 度 为 85. 10 Wh / kg, 体 积 能 量 密 度 为
108. 07 Wh / L。根据测试结果可以明确看出,在能量型电池应用中尖晶石 LiMn2 O4 电池的质量能量密度和体积能量密度要分别高于 LiFePO4 电池约 45 %和接近 100 % ,即从重量的角度来考虑问题时,在两种电池重量相同的情况下,使用尖晶石锰酸锂正极电池可以多运行约 1. 5 倍的距离。
2) ) 高低温测试比较。
尖晶石型 LiMn2 O4 和 LiFePO4 型动力锂离子电池的高低温测试结果见表 1 。由表 1 可以得知,两种电池虽然在高温下容量的变化相差不大,但 是LiFePO4 电池在 - 20 ℃ 时损失了约 45 % 的容量,尖晶石型 LiMn2 O4 电池的容量仅仅降低了 5 % ,即后者在低温时的电化学性能要远远优于前者。电动汽车动力电池的低温性能对电动汽车是一个至关重要的指标,如果电池低温性能不良,寒冷季节时电动汽车的性能将会受到严重影响。
表 1 能量型单体电池的高低温结果比较
Table 1 The compared results for high-low temperature of energy cell
LiMn2 O4 电池 LiFePO4 电池
T / ℃
放电容量/
放电比例/
放电容量/
放电比例/

图 8 盟固利 8 Ah 电池、LiFePO4 电池 SOC-OCV
和 SOC-R 关系
Fig. 8 Relationship of SOC-OCV and SOC-R for MGL
8 Ah battery and LiFePO4
battery
3) ) 倍率性能比较。
尖晶石型 LiMn2 O4 和 LiFePO4 型动力锂离子电池的倍率放电性能测试结果如图 9 所示。在大倍率放电时,两种电池均呈现有规律的容量下降。
4) ) 整车运行性能测试比较。
目前,Mn 系正极材料动力锂离子二次电池系统在北京等城市已经大规模使用,试用其他类型电池系统的工作也在进行中。我们选择两种搭载于城市无轨公交车上的电池能源系统进行了分析和比较,下面主要讨论与安全有关的电动汽车运行中电池的一致性和放电过程中电池的温升情况。
从图 10 中可以看出,在充电过程中,LiMn2 O4电池之间的最大压差为 0. 04 V,LiFePO4 电池之间的最大压差为 0. 37 V。从图 11 中可以看出,在放电过程中,LiMn2 O4 电池之间的最大压差为 0. 15 V, LiFePO4 电池之间的最大压差为 0. 48 V。
与携带电话中使用的几个瓦时的小型单体锂离子二次电池不同,电动汽车上使用的是几十千瓦时或者上百千瓦时的大功率动力锂离子二次电池。在充放电过程中表现出来的电池之间的电压差,一方面可 能 是 在 电 池 的 制 造 过 程 中 产 生 的,由 于LiFePO4 电池材料制作过程复杂和材料本身的导电性差导致了电池的成品率低,该电池的制作工艺技术和质量控制还 亟 待 完 善。 另 一 方 面,由 于LiFePO4 电池在使用过程中 SOC 难于估计和电池不易控制,也会加速电池之间差异的增大,本文中出现的情况可能是由两种原因叠加导致的。
从图 12 中可以看出,在放电过程中,LiMn2 O4电池最高温度为 34 ℃ ,最大温升为 8 ℃ ; LiFePO4 电
图 9 能量型单体电池的倍率放电性能比较
Fig. 9 Comparison of ratio-discharge performance of energy cell
图 10 LiMn2 O4 电池和 LiFePO4 电池充电过程电压极差
Fig. 10 Voltage deviation at charge process for LiMn2 O4 battery and LiFePO4 battery

图 11 LiMn2 O4 电池和 LiFePO4 电池放电过程电压极差
Fig. 11 Voltage deviation during the discharge process of LiMn2 O4 battery and LiFePO4 battery
池最高温度为 42 ℃ ,最大温升为 14 ℃ 。从测试结果来看,在整车应用中 LiMn2 O4 单体电池之间的一致性、放电过程中电池的温升要明显低于 LiFePO4 电池。电动汽车的工作过程中电池系统的温度升高虽然与多种因素有关,但是电池内部的能耗产生的温
图 12 LiMn2 O4 电池和 LiFePO4 电池放电过程温升变化
Fig. 12 Temperature change at discharge process for LiMn2 O4 battery and LiFePO4 battery
升也是一个原因,这与电池的内阻密切相关并呈线性关系。电池系统在使用过程中的温度升高和热量的不断积累是影响电动汽车安全性的重要因素,所以进一步解析清楚温升的原因和找到解决温升的办法是今后的一项重要工作。
在 2008 年上半年,盟固利给奥运会 50 辆电动公交车提供了 80 套锰酸锂锂离子动力电池。奥运会结束后,这些电动公交车分别在北京公交的几条线路上运行服务,截至 2009 年 10 月已经运行了 15 个月。在这期间累计行驶里程超过 150 万 km,累计乘客 220 多万人,累 计耗电量 110 多万 kWh。从2008 年 7 月开始的 9 个月时间里,电池系统的容量仅有约 6 % 的衰减。
尖晶石锰酸锂正极材料电池在高温下的稳定性长期以来一直是人们关注的一个问题。图 13 是对北京奥运期间纯电动公交车用锰酸锂电池系统在一
年使用中温度变化的描述。北京是一个四季分明的城市,夏天炎热而冬天寒冷。由图 13 中曲线变化可知,在 2008 年 8 月后的一年时间里,在北京夏季最炎热的时候,即地面温度和气温分别接近 60 ℃ 和40 ℃ 时,由于锰酸锂材料的导电性好、电池的内阻小、电池的结构设计合理,电池系统的温度基本上在40 ℃ 左右,这是电池的最佳工作温度区间。由于尖晶石锰酸锂电池的良好温度特性,北京的电动公交车在没有启动强制冷却的条件下,并没有出现人们担心的 55 ℃ 以上的高温,因此炎热气候对电池稳定性没有产生明显的影响。
2 结论
由于 LiFePO 材料的导电率低( 10 - 9 S / cm) ,仅是 LiMn2 O4 材料导电率的万分之一( 锰酸锂的导电率为10 - 5 S / cm,因此为了提高 LiFePO 材料的导电
性,在实际工艺制造过程中需要以掺杂、包覆或共晶
的方式加入导电性物质。此外,由于 LiFePO4 材料在合成过程中控制不当时极易出现 Fe2 + 离子氧化成 Fe3 + 的现象,往往使得材料的一致性很难控制。这些问题可能是影响 LiFePO4 正极材料电池一致性差、倍率放电性能不良、容易发热等问题的重要原 因。2008 年 6 月在美国高速公路上一辆进行实验的混合动力汽车燃烧可能就是由这些因素导致的。
通过对 Mn 系( 多元金属复合氧化物正极材料、尖晶石 LiMn2 O4 ) 和 LiFePO4 电池在功率型和能量型应用中的比较和讨论可以看出,目前 Mn 系电池的优越性主要体现在以下几个方面。
1) ) 工作电压平台高、能量密度以及功率密度高,因此与其他电池相比较,可以少用约 1 /4 的电池数量和体积驱动电动汽车行驶相同的距离。
图 13 环境及锰酸锂电池系统的温度变化
Fig. 13 The temperature change of circumstance and LiMn2 O4 battery
2) ) 倍率放电性能优越,且在大倍率放电时电池的温度变化小,从而使得由于使用过程中电池温度升高而导致的热失控等安全性问题发生的概率由此得到了控制。
3) ) 高低温性能优越,该特性使得电池即使是在寒冷的冬季也不会影响电动汽车的性能。
4) ) SOC 与 OCV 具有良好的线性关系,因此电动汽车动力系统控制简单,电池系统的寿命和安全性得到了进一步的保障。
由本文中大量的实验数据分析和电池的几年实际使用情况来看,我们认为在诸多的功率型锂离子动力电池中,锰基多元金属氧化物正极材料型动力电池将逐渐发展成为一种主要趋势,在能量型锂离子动力电池中,尖晶石锰酸锂则由于其独特的性能和资源优势,会继续在车载二次电池应用领域中扮演重要的角色。今后一个时期内,随着技术的不断进步,新型高电压 Mn 系材料( 平台电压为4. 7 V) 很快就会被应用到下一代高能量密度电池中去。同时,因为在新型金属氧化物负极材料和非碳型负极材料的进展,新一代具有更加稳定循环充放电性能的高功率电池也将会迅速进入市场。
声明: 本站所发布文章部分图片和内容自于互联网,如有侵权请联系删除